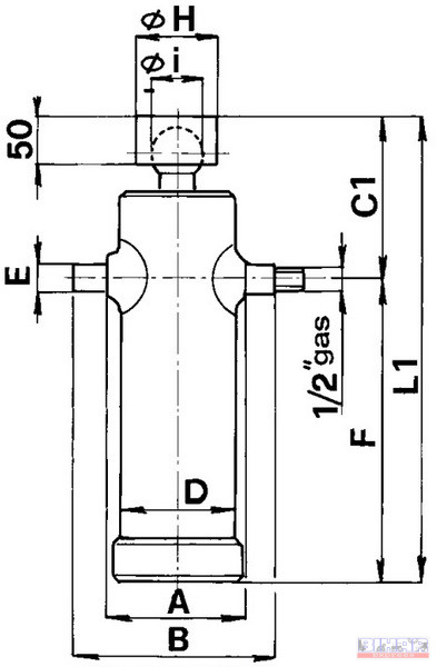
Pótkocsi hidraulikus teleszkópos billentő munkahenger 1050, teherbírás: 10 to
272 415 Ft (Nettó: 214 500 Ft)