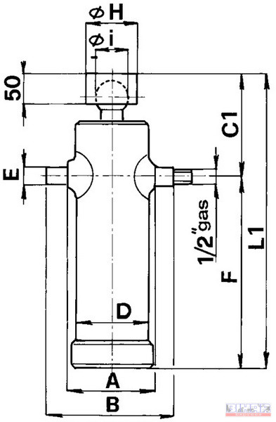
Pótkocsi hidraulikus teleszkópos billentő munkahenger 1500, teherbírás: 11 to
392 113 Ft (Nettó: 308 750 Ft)